您現在所在位置:大田閥門 >> 襯氟閥門(襯里閥門)
設計與制造:HG/T21562
結構長度:GB 12221(長系列)
法蘭連接尺寸:JB78 JB79 HG5010、ANSI B16.5、JIS2212
GL41Fs過濾器專用于控制強腐蝕性介質,閥體內腔表面覆有可供選擇的各種氟塑料,適用于不同工作溫度和流體管路,具有強度高、耐腐蝕性能好的特點。
適用溫度:≤100℃、≤120℃、≤150℃、(可按照襯里材料)
壓力等級: 1.0 1.6 2.5
襯里層:電火花檢測
實驗與檢驗按GB/T13927標準
公稱壓力:PN 閥體:PN×1.5 密封:PN×1.1
閥體:鑄鐵、碳鋼 閥蓋:鑄鐵、碳鋼 襯里:FEP、PCTFE
過濾網:PTFE 螺栓:碳鋼 螺母:碳鋼
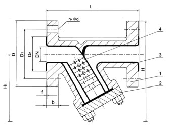
1、閥體2、閥蓋3、閥體襯里4、過濾網

| 公稱通徑 | L | D | D1 | D2 | b | n-Фd | f | H1 | H | 質量 | |
|---|---|---|---|---|---|---|---|---|---|---|---|
| DN | NPS | ||||||||||
| 20 | 3/4 | 150 | 105 | 75 | 55 | 16 | 4-14 | 2 | 70 | 122 | 3.3 |
| 25 | 1 | 160 | 115 | 85 | 65 | 16 | 4-14 | 2 | 78 | 135 | 4.2 |
| 32 | 11/4 | 190 | 135 | 100 | 78 | 18 | 4-18 | 2 | 86 | 156 | 6.6 |
| 40 | 11/2 | 200 | 145 | 110 | 85 | 18 | 4-18 | 3 | 92 | 164 | 7.3 |
| 50 | 2 | 230 | 160 | 125 | 100 | 20 | 4-18 | 3 | 102 | 182 | 12 |
| 65 | 21/2 | 250 | 180 | 145 | 120 | 20 | 4-18 | 3 | 115 | 205 | 16 |
| 80 | 3 | 280 | 195 | 160 | 135 | 22 | 8-18 | 3 | 135 | 232 | 23 |
| 100 | 4 | 320 | 215 | 180 | 155 | 24 | 8-18 | 3 | 156 | 263 | 32 |
| 125 | 6 | 400 | 245 | 210 | 185 | 26 | 8-18 | 3 | 248 | 370 | 39 |
| 150 | 8 | 500 | 280 | 240 | 210 | 28 | 8-23 | 3 | 285 | 425 | 53 |
| 200 | 600 | 335 | 295 | 265 | 30 | 8-23 | 3 | 362 | 530 | 89 | |
注:此表系JB78 PN1.6MPa法蘭連接尺寸標準
主營產品:氣動調節閥 - 電動調節閥 - 自力式調節閥
版版權所有 © 上海大田閥門管道工程有限公司
地址:上海市浦東新區川宏路528號宏圖大樓5樓
