T型三通卡套旋塞閥用帶通孔的塞體作為啟閉件的閥門。塞體隨閥桿轉動,以實現啟閉動作。通過旋轉90度使閥塞上的通道口與閥體上的通道口相同或分開,實現開啟或關閉的一種閥門。
當前旋塞閥廣泛地應用于油田開采、輸送和精練設備中,同時也廣泛用于石油化工、化工、煤氣、天然氣、液化石油氣、暖通行業以及一般工業中。

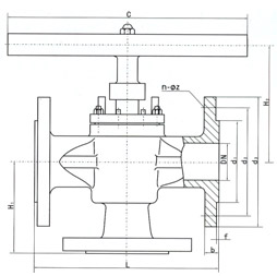
| DN | L | d1 | d2 | d3 | b | f | H1 | H2 | c | N-ФZ |
|---|---|---|---|---|---|---|---|---|---|---|
| 150Lb | ||||||||||
| 1/2 | 108 | 35 | 60.5 | 89 | 11 | 2 | 68 | 150 | 300 | 4-15 |
| 3/4 | 117 | 43 | 70 | 98 | 11 | 2 | 73 | 155 | 300 | 4-15 |
| 1 | 127 | 51 | 79.5 | 108 | 12 | 2 | 80 | 160 | 300 | 4-15 |
| 11/4 | 140 | 64 | 89 | 117 | 13 | 2 | 85 | 180 | 350 | 4-15 |
| 11/2 | 165 | 73 | 98.5 | 127 | 15 | 2 | 95 | 190 | 400 | 4-15 |
| 2 | 178 | 92 | 120.5 | 152 | 16 | 2 | 110 | 200 | 500 | 4-19 |
| 21/2 | 190 | 105 | 139.5 | 178 | 18 | 2 | 125 | 220 | 500 | 4-19 |
| 3 | 203 | 127 | 152.5 | 190 | 19 | 2 | 130 | 230 | 500 | 4-19 |
| 4 | 229 | 157 | 190.5 | 229 | 24 | 2 | 155 | 380 | / | 8-19 |
| 5 | 254 | 186 | 216 | 254 | 24 | 2 | 175 | 460 | / | 8-22 |
| 6 | 267 | 216 | 241.5 | 279 | 26 | 2 | 185 | 520 | / | 8-22 |
| 8 | 292 | 270 | 298.5 | 343 | 29 | 2 | 225 | 580 | / | 8-22 |
| 10 | 330 | 324 | 362 | 406 | 31 | 2 | 260 | 620 | / | 12-25 |
| 12 | 356 | 381 | 432 | 483 | 32 | 2 | 300 | 680 | / | 12-25 |
| 300Lb | ||||||||||
| 1/2 | 140 | 35 | 66.5 | 95 | 15 | 2 | 75 | 150 | 300 | 4-15 |
| 3/4 | 152 | 43 | 82.5 | 117 | 16 | 2 | 91 | 155 | 300 | 4-19 |
| 1 | 165 | 51 | 89 | 124 | 18 | 2 | 95 | 160 | 300 | 4-19 |
| 11/4 | 178 | 64 | 98.5 | 133 | 19 | 2 | 100 | 180 | 350 | 4-19 |
| 11/2 | 190 | 73 | 114.5 | 156 | 21 | 2 | 120 | 190 | 400 | 4-22 |
| 2 | 216 | 92 | 127 | 165 | 23 | 2 | 125 | 200 | 500 | 8-19 |
| 21/2 | 241 | 105 | 149 | 190 | 26 | 2 | 140 | 220 | 500 | 8-22 |
| 3 | 283 | 127 | 168.5 | 210 | 29 | 2 | 155 | 230 | 500 | 8-22 |
| 4 | 305 | 157 | 200 | 254 | 32 | 2 | 185 | 380 | / | 8-22 |
| 5 | 381 | 186 | 235 | 279 | 35 | 2 | 200 | 460 | / | 8-22 |
| 6 | 403 | 216 | 270 | 318 | 37 | 2 | 220 | 520 | / | 12-22 |
| 8 | 419 | 270 | 330 | 381 | 42 | 2 | 257 | 580 | / | 12-25 |
| 10 | 457 | 324 | 387.5 | 445 | 48 | 2 | 300 | 620 | / | 16-25 |
| 12 | 502 | 381 | 451 | 521 | 51 | 2 | 340 | 680 | / | 16-25 |
| 600Lb | ||||||||||
| 1/2 | 165 | 35 | 66.5 | 95 | 22 | 7 | 82 | 150 | 300 | 4-15 |
| 3/4 | 190 | 43 | 82.5 | 118 | 23 | 7 | 98 | 155 | 300 | 4-19 |
| 1 | 216 | 51 | 89 | 124 | 25 | 7 | 102 | 160 | 300 | 4-19 |
| 11/4 | 229 | 64 | 98.5 | 133 | 28 | 7 | 108 | 180 | 350 | 4-19 |
| 11/2 | 241 | 73 | 114.5 | 156 | 30 | 7 | 128 | 190 | 400 | 4-22 |
| 2 | 292 | 92 | 127 | 165 | 33 | 7 | 135 | 200 | 500 | 8-19 |
| 21/2 | 330 | 105 | 149 | 190 | 36 | 7 | 155 | 220 | 500 | 8-22 |
| 3 | 356 | 127 | 168 | 210 | 39 | 7 | 165 | 230 | 500 | 8-22 |
| 4 | 432 | 157 | 216 | 273 | 45 | 7 | 208 | 380 | / | 8-25 |
| 5 | 508 | 186 | 266.5 | 330 | 52 | 7 | 245 | 460 | / | 8-29 |
| 6 | 559 | 216 | 292 | 356 | 55 | 7 | 265 | 520 | / | 12-29 |
| 8 | 660 | 270 | 349 | 419 | 63 | 7 | 300 | 580 | / | 12-32 |
| 10 | 787 | 324 | 432 | 508 | 71 | 7 | 355 | 620 | / | 16-35 |
| 12 | 838 | 381 | 489 | 559 | 74 | 7 | 390 | 680 | / | 20-35 |